Product Summary
The ATTINY2313A-SU is a Microcontroller with 2/4K Bytes In-System Programmable Flash. The ATTINY2313A-SU is a low-power CMOS 8-bit microcontroller based on the AVR enhanced RISC architecture. By executing powerful instructions in a single clock cycle, the ATTINY2313A-SU achieves throughputs approaching 1 MIPS per MHz allowing the system designer to optimize power consumption versus processing speed.
Parametrics
ATTINY2313A-SU absolute maximum ratings: (1)Operating Temperature: -55℃ to +125℃; (2)Storage Temperature: -65℃ to +150℃; (3)Voltage on any Pin with respect to Ground: -0.5V to VCC+0.5V; (4)Voltage with respect to Ground: -0.5V to +13.0V; (5)Maximum Operating Voltage: 6.0V; (6)DC Current per I/O Pin: 40.0 mA; (7)DC Current VCC and GND Pins: 200.0 mA.
Features
ATTINY2313A-SU features: (1)120 Powerful Instructions – Most Single Clock Cycle Execution; (2)32 x 8 General Purpose Working Registers; (3)Fully Static Operation; (4)Up to 20 MIPS Throughput at 20 MHz; (5)One 8-bit Timer/Counter with Separate Prescaler and Compare Mode; (6)One 16-bit Timer/Counter with Separate Prescaler, Compare and Capture Modes; (7)Four PWM Channels; (8)On-chip Analog Comparator; (9)Programmable Watchdog Timer with On-chip Oscillator; (10)USI – Universal Serial Interface; (11)Full Duplex USART.
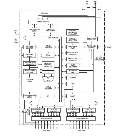
Diagrams

| Image | Part No | Mfg | Description | ![]() |
Pricing (USD) |
Quantity | ||||||||||||
|---|---|---|---|---|---|---|---|---|---|---|---|---|---|---|---|---|---|---|
![]() |
![]() ATTINY2313A-SU |
![]() Atmel |
![]() 8-bit Microcontrollers (MCU) 2K FLASH 128B EE 128B SRAM 1 UART |
![]() Data Sheet |
![]()
|
|
||||||||||||
![]() |
![]() ATTINY2313A-SUR |
![]() Atmel |
![]() 8-bit Microcontrollers (MCU) AVR 2K FLSH 128B EE 128B SRAM 1UART20MHz |
![]() Data Sheet |
![]()
|
|
||||||||||||
(China (Mainland))










